-
加厚鋁手柄,美觀又耐用
手柄采用加厚鋁手柄設計,既保證美觀又保證耐用。
-
閥體閥板使用QT450-10材料,性能強
閥體閥板均使用QT450-10材料、球化率3級以上、抗拉強度450Mpa,延展率大于10%,不易拉裂、凍裂。
-
實心體閥體,更穩定
閥體為實心體,同等口徑重量重于其他廠家。
-
特殊工藝噴涂閥體
閥體外表采用靜電粉末熱噴噴涂工藝,更加環保、耐候性更高,保證閥體36個月不變色。
-
每臺產品熱縮膜獨立包裝,隔灰又防潮
每臺般德產品均采用熱縮膜獨立包裝,并內置干燥劑,隔離空氣灰塵、利于存放,避免受潮引起的產品銹蝕。
-
產品擁有獨立身份標識,保證可追溯
每一臺般德產品從配件到成品都有其獨立的二維碼標識,保證產品可追溯。
-
智能設備試壓檢測,保證產品合格出廠
每件產品由般德智能檢測設備試壓檢測,并自動生成檢驗報告,每份數據和報告保存5年,保證出廠合格率。
-
兩年內壞一個賠兩個
般德品牌產品國內外共有太平洋保險1000萬保額的品質承保(保單號:ATIJ04007120Q000006E),承保范圍29類,共1000余種產品,質保2年,兩年內壞一個賠兩個。
-
產品優點
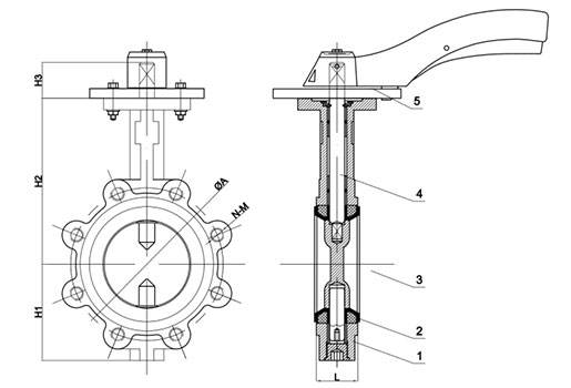
產品介紹
般德D71F鋁手柄凸耳襯四氟蝶閥產品配置:凸耳對夾,DI體,SS304米洛奇板,SS410軸,PTFE閥座,鋁手柄;該產品主要用于化工、市政建設、水利工程、電力、石油、給排水、水處理等領域。
產品參數
| 執行標準 | 名稱 | 設計及制造 | 結構長度 | 試壓標準 | 上法蘭尺寸 | 側法蘭尺寸 | ||||
| 參照標準 | GB/T 12238-2008 | GB/T 12221-2008 | GB/T 13927-2008 | ISO 5211 | CLASS150/PN6/PN10/PN16/ 5K/10K/TABLE D/TABLE E |
|||||
| 主要零部件信息 | 名稱 | 閥體 | 閥座 | 蝶板 | 閥軸 | 驅動 | ||||
| 材質及說明 | DI | PTFE | 304米洛奇 | 304 | 鋁手柄 | |||||
| 尺寸信息 | 公稱尺寸 | 外形尺寸 | 結構長度 | PN16 | Class150 | |||||
| DN | NPS(英寸) | H1 | H2 | H3 | L | ΦA | N-M | ΦA | N-M | |
| DN50 | 2" | 80 | 169 | 32 | 43 | 125 | 4-M16 | 120.7 | 4-5/8" | |
| DN65 | 2.5" | 89 | 176 | 32 | 46 | 145 | 4-M16 | 139.7 | 4-5/8" | |
| DN80 | 3" | 95 | 183 | 32 | 46 | 160 | 8-M16 | 152.4 | 4-5/8" | |
| DN100 | 4" | 114 | 201 | 32 | 52 | 180 | 8-M16 | 190.5 | 8-5/8" | |
| DN125 | 5" | 127 | 214 | 32 | 56 | 210 | 8-M16 | 215.9 | 8-3/4" | |
| DN150 | 6" | 139 | 229 | 32 | 56 | 240 | 8-M20 | 241.3 | 8-3/4" | |
| DN200 | 8" | 175 | 257 | 45 | 60 | 295 | 12-M20 | 298.5 | 8-3/4" | |
| DN250 | 10" | 203 | 280 | 45 | 68 | 355 | 12-M24 | 362 | 12-7/8" | |
語言:簡體中文
English
Русский
簡體中文












